Breadcrumbs

Magnetic Lock MU90

Before using the magnetic lock, please read these instructions carefully.

Licence key

To use the magnetic lock, the licence key has to be activated first. How to activate it is described in the chapter Additional Modules.

Scope of delivery

The package includes:

  • 1x magnetic lock MU90

  • 3x magnetic key MK90 (orange, blue, black)

  • assembly materials

  • 1x product code

Magnetschloss-KIT_docs.png

LED indicator

Status

Green light

Red light

Acoustic signal

Establishing the connection

x

x

-

Connected

x

-

-

Attach the magnetic key

x

-

x

Disconnect the magnetic key

x

-

x


Connecting the magnetic lock

The magnetic lock is connected to the register via a USB connector. The USB connectors on the primasello register are located on the bottom of the device.

Connector X120 / X120s

_X120-USB.png

Connector X140 / X140s

_X140-USB.png

Connector A1050

A1050-USB.png

Step by step

To connect the magnetic lock, perform the following steps in sequence:

  1. The primasello cash register has to be switched off.

  2. Connect the magnetic lock cable to the cash register connector.

  3. Place the magnetic lock and primasello cash register on a stable surface.

  4. Switch on the primasello cash register.

The magnetic lock is then ready for immediate use, no further setup is necessary.

Configure keys for users

How to configure keys for individual users is described in the chapter Configuring the MU90 magnetic lock.

Install magnetic lock

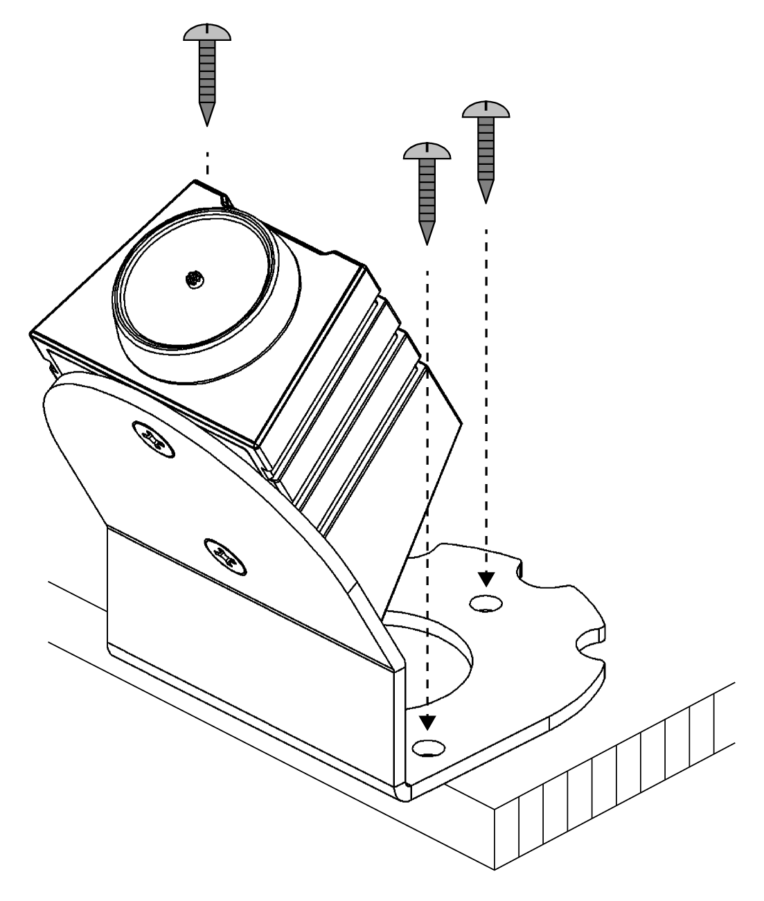
The scope of delivery includes mounting material for permanently attaching the magnetic lock. Take the magnetic lock, the bevelled metal plate and the enclosed screws out of the packaging.

First, route the USB cable through the hole in the metal plate and place the magnetic lock on the other side of the plate so that the two threads on the bottom line up with the holes in the plate.

Magnetschloss_Montage-1.png

Then attach the magnetic lock to the metal plate using the two short flat-head screws.

Magnetschloss_Montage-2.png

Now you can attach the magnetic lock to a solid surface using the remaining three screws.

Magnetschloss_Montage-3.png