Magnetic Lock MU90
Before using the magnetic lock, please read these instructions carefully.
Licence key
To use the magnetic lock, the licence key has to be activated first. How to activate it is described in the chapter Additional Modules.
Scope of delivery
The package includes:
1x magnetic lock MU90
3x magnetic key MK90 (orange, blue, black)
assembly materials
1x product code

LED indicator
Status | Green light | Red light | Acoustic signal |
|---|---|---|---|
Establishing the connection | x | x | - |
Connected | x | - | - |
Attach the magnetic key | x | - | x |
Disconnect the magnetic key | x | - | x |
Connecting the magnetic lock
The magnetic lock is connected to the register via a USB connector. The USB connectors on the primasello register are located on the bottom of the device.
Connector X120 / X120s

Connector X140 / X140s

Connector A1050

Step by step
To connect the magnetic lock, perform the following steps in sequence:
The primasello cash register has to be switched off.
Connect the magnetic lock cable to the cash register connector.
Place the magnetic lock and primasello cash register on a stable surface.
Switch on the primasello cash register.
The magnetic lock is then ready for immediate use, no further setup is necessary.
Configure keys for users
How to configure keys for individual users is described in the chapter Configuring the MU90 magnetic lock.
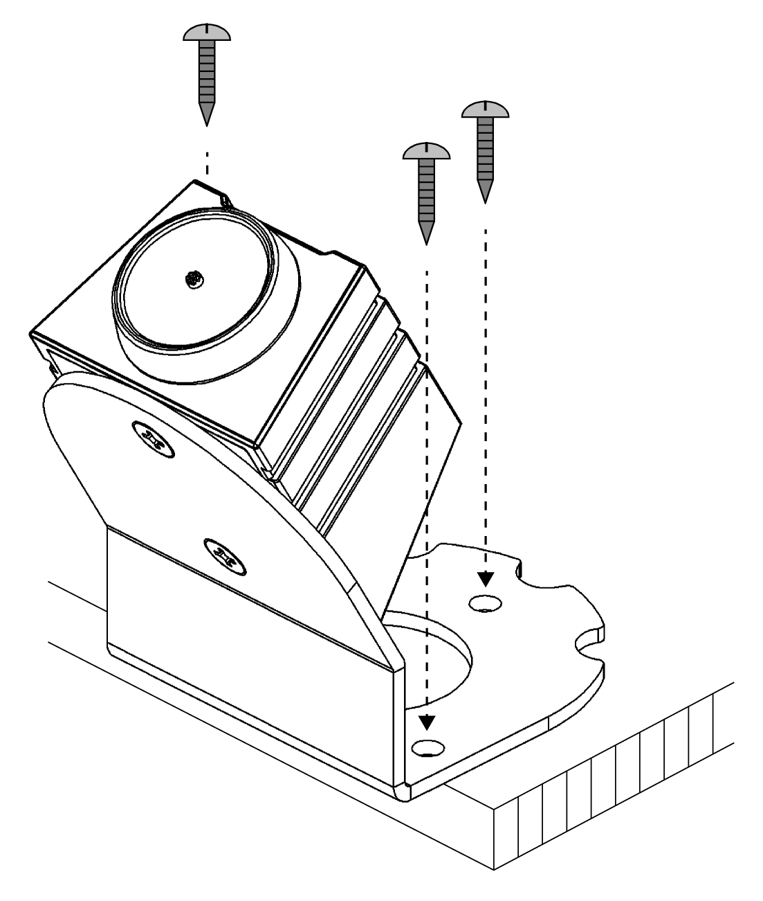
Install magnetic lock
The scope of delivery includes mounting material for permanently attaching the magnetic lock. Take the magnetic lock, the bevelled metal plate and the enclosed screws out of the packaging.
First, route the USB cable through the hole in the metal plate and place the magnetic lock on the other side of the plate so that the two threads on the bottom line up with the holes in the plate.

Then attach the magnetic lock to the metal plate using the two short flat-head screws.

Now you can attach the magnetic lock to a solid surface using the remaining three screws.
