Breadcrumbs

Magnetschloss MU90

Bevor Sie das Magnetschloss in Betrieb nehmen, lesen Sie sich diese Anleitung sorgfältig durch.

Lizenzschlüssel

Für die Verwendung des Magnetschlosses muss zuerst der Lizenzschlüssel aktiviert werden. Wie dieser aktiviert werden kann, wird im Kapitel Zusatzmodule beschrieben.

Lieferumfang

Im Paketumfang enthalten sind:

  • 1x Magnetschloss MU90

  • 3x Magnetschlüssel MK90 (schwarz, orange, blau)

  • Montagematerial

  • 1x Produktcode

Magnetschloss-KIT_docs.png

LED Anzeige

Status

Grünes Licht

Rotes Licht

Akustisches Signal

Aufbau der Verbindung

x

x

-

Angeschlossen

x

-

-

Magnetschlüssel anstecken

x

-

x

Magnetschlüssel abstecken

x

-

x


Magnetschloss anschließen

Das Magnetschloss wird mit einem USB-Anschluss mit der Kasse verbunden. Die USB-Anschlüsse der primasello Registrierkasse befinden sich an der Unterseite des Geräts.

Anschluss X120 / X120s

_X120-USB.png

Anschluss X140 / X140s

_X140-USB.png

Anschluss A1050

A1050-USB.png

Schritt für Schritt

Um das Magnetschloss anzuschließen sind folgende Schritte der Reihe nach auszuführen:

  1. Die primasello Registrierkasse muss ausgeschalten sein

  2. Das Kabel des Magnetschlosses mit dem Anschluss der Registrierkasse verbinden

  3. Magnetschloss und primasello Registrierkasse auf einem festen Standort platzieren

  4. Die primasello Registrierkasse einschalten

Das Magnetschloss ist danach sofort einsatzbereit, es ist kein weiteres Setup notwendig.

Schlüssel für Benutzer konfigurieren

Wie die Schlüssel für einzelne Benutzer konfiguriert werden können, wird im Kapitel Magnetschloss MU90 konfigurieren beschrieben.

Magnetschloss montieren

Im Lieferumfang ist Montagematerial für die fixe Befestigung des Magnetschlosses enthalten. Nehmen Sie das Magnetschloss, die abgeschrägte Metallplatte und die beigelegten Schrauben aus der Verpackung.

Führen Sie zuerst das USB-Kabel durch das Loch der Metallplatte und setzten Sie das Magnetschloss so auf die andere Seite der Platte, dass die beiden Gewinde an der Unterseite mit den Löchern in der Platte übereinstimmen.

Magnetschloss_Montage-1.png

Befestigen Sie das Magnetschloss anschließend mit den beiden kurzen Flachkopf-Schrauben an der Metallplatte.

Magnetschloss_Montage-2.png

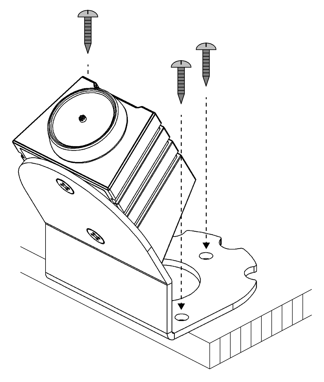
Nun können sie das Magnetschloss mit den übrigen drei Schrauben an einem festen Untergrund befestigen. 

Magnetschloss_Montage-3.png