Magnetschloss MU90
Bevor Sie das Magnetschloss in Betrieb nehmen, lesen Sie sich diese Anleitung sorgfältig durch.
Lizenzschlüssel
Für die Verwendung des Magnetschlosses muss zuerst der Lizenzschlüssel aktiviert werden. Wie dieser aktiviert werden kann, wird im Kapitel Zusatzmodule beschrieben.
Lieferumfang
Im Paketumfang enthalten sind:
1x Magnetschloss MU90
3x Magnetschlüssel MK90 (schwarz, orange, blau)
Montagematerial
1x Produktcode

LED Anzeige
Status | Grünes Licht | Rotes Licht | Akustisches Signal |
|---|---|---|---|
Aufbau der Verbindung | x | x | - |
Angeschlossen | x | - | - |
Magnetschlüssel anstecken | x | - | x |
Magnetschlüssel abstecken | x | - | x |
Magnetschloss anschließen
Das Magnetschloss wird mit einem USB-Anschluss mit der Kasse verbunden. Die USB-Anschlüsse der primasello Registrierkasse befinden sich an der Unterseite des Geräts.
Anschluss X120 / X120s

Anschluss X140 / X140s

Anschluss A1050

Schritt für Schritt
Um das Magnetschloss anzuschließen sind folgende Schritte der Reihe nach auszuführen:
Die primasello Registrierkasse muss ausgeschalten sein
Das Kabel des Magnetschlosses mit dem Anschluss der Registrierkasse verbinden
Magnetschloss und primasello Registrierkasse auf einem festen Standort platzieren
Die primasello Registrierkasse einschalten
Das Magnetschloss ist danach sofort einsatzbereit, es ist kein weiteres Setup notwendig.
Schlüssel für Benutzer konfigurieren
Wie die Schlüssel für einzelne Benutzer konfiguriert werden können, wird im Kapitel Magnetschloss MU90 konfigurieren beschrieben.
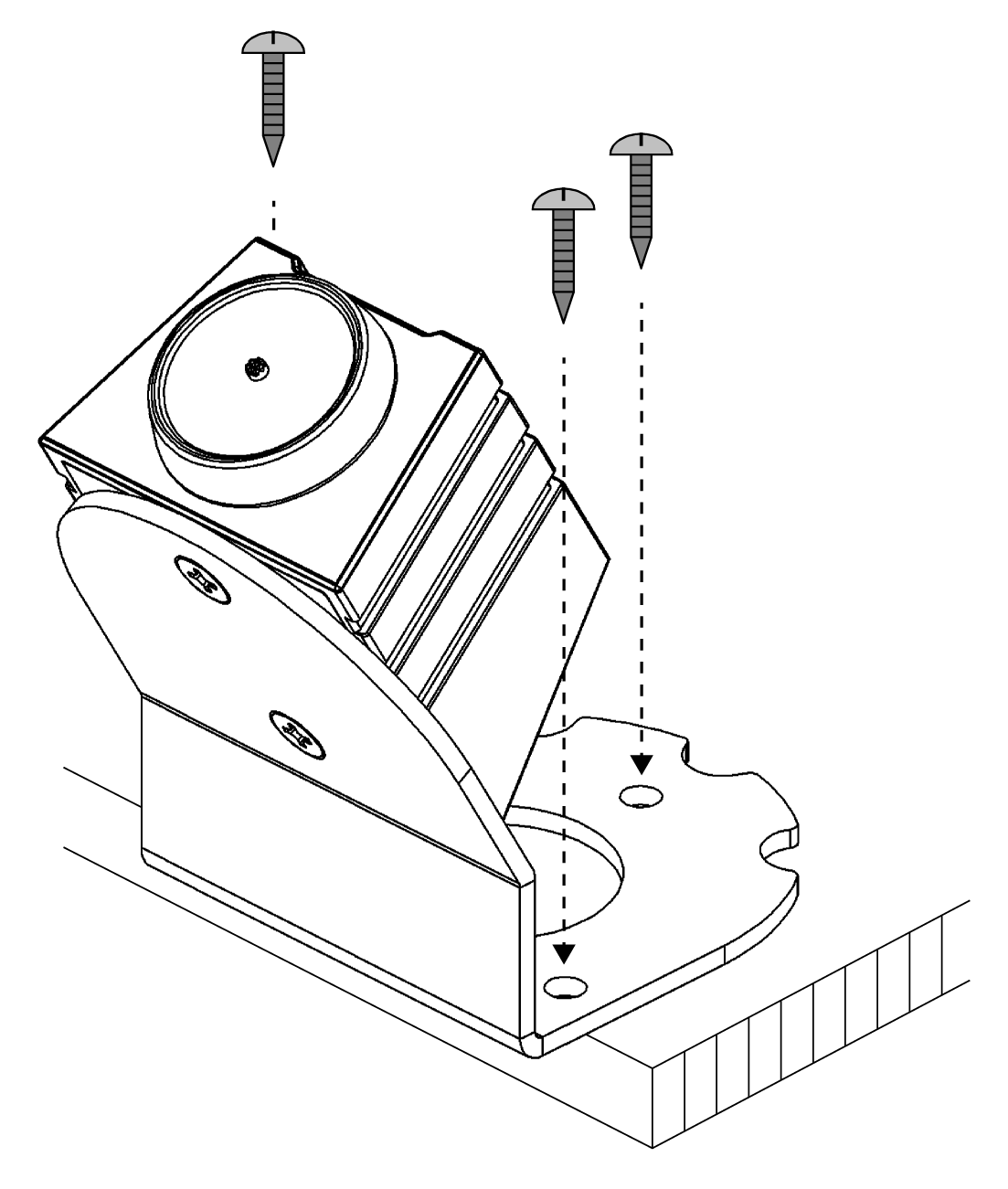
Magnetschloss montieren
Im Lieferumfang ist Montagematerial für die fixe Befestigung des Magnetschlosses enthalten. Nehmen Sie das Magnetschloss, die abgeschrägte Metallplatte und die beigelegten Schrauben aus der Verpackung.
Führen Sie zuerst das USB-Kabel durch das Loch der Metallplatte und setzten Sie das Magnetschloss so auf die andere Seite der Platte, dass die beiden Gewinde an der Unterseite mit den Löchern in der Platte übereinstimmen.

Befestigen Sie das Magnetschloss anschließend mit den beiden kurzen Flachkopf-Schrauben an der Metallplatte.

Nun können sie das Magnetschloss mit den übrigen drei Schrauben an einem festen Untergrund befestigen.
